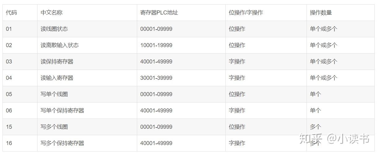
modbus命令

# 读离散输入(Discrete Inputs)和
定义:离散输入是 PLC 的输入信号接口,用于接收外部设备的开关量信号(如传感器、按钮、限位开关等的状态)。
# 读线圈(Coils)
定义:线圈是 PLC 的输出信号接口,用于控制外部设备的开关状态(如继电器、电磁阀、指示灯等)。
# 读离散输入和读线圈区别
| 维度 | 读离散输入(Discrete Inputs) | 读线圈(Coils) |
|---|---|---|
| 方向 | 外部→PLC(输入) | PLC→外部(输出) |
| 读写权限 | 只读(PLC 被动接收,无法通过通信修改) | 可读可写(可通过通信读取当前状态,也可写入控制指令) |
| 用途 | 采集外部状态(如检测信号) | 控制外部设备(如执行指令) |
| 在 Modbus 中的地址 通常以1xxxx编号(如 Modbus RTU) | 通常以0xxxx编号(如 Modbus RTU) | |
| 典型场景 | 读取传感器是否触发、按钮是否按下 | 读取继电器是否吸合、指示灯是否亮 |
可以用 “遥控器与电视” 的关系类比:
- 离散输入:相当于电视的 “按键(遥控器)”(用户按→电视接收信号),只能被电视 “读取” 状态,无法通过电视主动修改按键是否被按;
- 线圈:相当于电视的 “指示灯”(电视控制→指示灯亮 / 灭),可以被读取当前状态(亮 / 灭),也可以被电视(或遥控器)修改状态(开关)。
- 总结 若需要获取外部设备的状态(如传感器、按钮),用 “读离散输入”;
若需要控制外部设备或查看输出状态(如继电器、指示灯),用 “读线圈”(同时线圈支持 “写” 操作以控制设备)。
Last Updated: 2026/01/29, 11:28:12